凝汽器是發電廠重要設備之一,銅管在長期運行過程中,管內壁易結垢,傳熱效果會顯著降低,進而影響發電機組的效率和出力。
凝汽器膠球清洗裝置是目前國內外常用、有敬的清洗凝汽器銅管的方法,它能在機組正常運行過程中清洗銅管.經常保持凝汽器銅管清潔度是提高機組效率簡單、有效的辦法。
1、工作原理
膠球清洗系統如圖1所示。膠球泵將膠球與水送人凝汽器循環水進水管中,膠球隨同循環水進人銅管。在通過銅管時,因膠球外徑比銅管大,會受壓變形將銅管內壁措一遍、凝汽器出水管中裝有收球網,膠球離開銅管后,在收球網中被從水中分離出來,再經過加球室.進入膠球泵打回凝汽器中,繼續循環沖洗。
圖1膠球清洗系統
通常,每次清洗所加膠球數為凝汽器一個流程銅管數的1/10,根據水質污臟程度,每次清洗時間可安排為0.5~1h,每天一次或每班一次:對閉式循環結硬垢的電廠根據實際情況可增加清洗次數和時間為了防正凝汽器管板上堆積垃圾而影響膠球的循環,在凝汽器的進口還必須設置二次濾網。
加球和取球均在加球室內完成、膠球清洗裝置系統中的膠球泵.其葉輪具有特殊于一般離心泵的形狀,在輸送膠球時不易卡球,也不會打壞膠球。
2、凝汽器膠球清洗裝置設備介紹
我所70年代初期就組織人力對凝汽器膠球清洗裝置開展了許多科研工作。
2.1膠球試制
根據運行要求、膠球應其有柔軟、足夠的彈性,在水中不發漲,內部小孔相通且不太致密、吸飽水的比重與水相同等特性當時在有關橡膠研究所的協作下,經過1:百次不同配方及工藝的試驗,后試制出性能基本上能滿足要求的膠球。今年、我們又攻克了去皮工藝,去了皮的海綿球,其內部的空氣易于被排出,迅速吸飽水的球,其比重與水一樣,能保證每根管子的通球數大致相同。目前從各種指標分析,我所生產的膠球已接近德國生產的膠球水平。
2.2收球網
收球網我所生產I型、Ⅱ型兩種結構,應該講.Ⅱ型結構更簡單,工作更可靠、大機組配用Ⅱ型雙網板,小機組(φ700及以下)配用單網板,網板型式見圖2.
2.3二次濾網
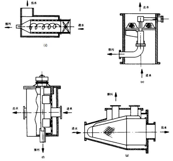
我們曾試制了固定外旋式,帶蝶閥外旋式,翻板反沖洗式,內旋式,多種負壓反沖洗式等各種型式濾網。目前,我們在機組上均配用負壓反沖洗式二次濾網,小機組上也可用內旋式濾網濾網形式見圖3。
(a)固定外旋式(b)帶蝶閥外旋式(c)翻板式反沖洗(J)內旋式(e)負壓反沖洗Ⅱ型(f)負樂反沖洗四型(g)負壓反沖洗I型負壓反沖洗二次濾網大的優點是運行可靠,反沖洗效果好,且流動阻力小,可降低循環水泵耗功,較之其它形式濾網應優先被使用:
3、控制設備
我所自動控制室生產的各種膠球清洗裝置控制柜,可滿足用戶對膠球清洗裝置運行時要求程序控制,遠方操作式需配有計數器以檢測膠球運行情況等要求。
4、結束語
積我所長期來對膠球清洗裝置的試驗研究及制作加工、調試運行的經驗,我們愿誠意為國內外電廠提供質量優良的各類機組膠球清洗裝置設備及周到的現場服務工作。